Ordering page for wheels with an even number of mounting holes.

Wheel Chart

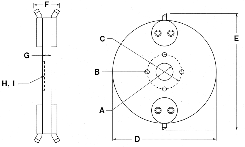
Note - It is important that the A, B and C dimensions are measured accurately. Use a caliper, micrometer or other accurate measuring instrurment or ask a machine shop to take the measurements for you.

Make and Model of your machine
Horsepower
Gas   Diesel  
Number of Mounting Holes
All measurements can be in inches or metric.
A - Bore Diameter
B - Mounting Hole Diameter
C - Bolt Circle Diameter
D - Wheel Diameter
E - Tip to Tip Dimension
F - Maximum Tooth Spacing
G - Thickness of Wheel
Enter the below values only if your wheel has a counter bore
H - Counter Bore Diameter
I - Counter Bore Depth
Counter Bore Side Left   Right
When standing in front of the machine looking at the machine.

 

* required
* Your Name:
* Email:
Mailing Address:
City:
State/Province:
Zip or Postal Code:
* Country
* Phone:
Comments:

We will contact you soon after you send us this information to discuss the number of teeth required for your wheel and pricing and answer any questions that you might have.